作者/青梅
出品/青眼
在竞争激烈的抖音美妆赛道,从不缺乏横空出世的“黑马”,但是,随着流量成本越来越高,随时随地的“爆火”早已成为过去式。
不过,青眼注意到,最近不少品牌凭借着头部达人主播间飞速起量,甚至仅用几个月的时间,从百名开外打入抖音美妆头部榜单。
最典型如,曾凭借“三精葡萄糖酸钙口服液”等产品深入人心的“三精制药”(哈药集团三精制药有限公司),在今年短短8个月内实现GMV翻1000倍的爆发式增长,顺利跻身抖音美妆亿元俱乐部,并首次进入抖音美妆TOP20。
那么,作为一家传统药企,三精制药为何能在短时间内打通美妆赛道?其在抖音平台的增长逻辑是什么?这份“跨界成绩单” 又能为其他药企进军化妆品领域,以及美妆企业布局抖音提供哪些可复制的经验?
顶流直播点燃的爆发式增长
青眼梳理了今年1-9月三精制药GMV变化,可以明显看到,不过8个月时间,该品牌实现了从十万区间到百万区间再到破亿的“飞跃”。

具体而言,达人推广为其主要的带货方式,除个别月份外,达人带货GMV都占整体的70%以上。
·与辉同行直播带货拉升整体GMV
青眼梳理了三精制药今年以来的合作达人,发现数量一直都在稳步爬升,到今年9月,其带货达人数量已达1754位。而其中,顶流直播间与辉同行的带货表现尤为突出,8月18日的单场直播便为三精制药贡献了数千万的GMV,成为拉动整体业绩飙升的关键力量。
具体来看,今年8月18日-20日,与辉同行直播间开启了为期3天的“黑龙江专场”,带货了三精制药旗下气垫霜、特润霜、精粹水等美妆产品,实现2500万-5000万的GMV,将品牌月度GMV迅速拉升至5000万-7500万量级。

▍与辉同行黑龙江专场带货三精制药,图源网络
据青眼情报数据,在今年9月,三精制药18款商品再度返场与辉同行直播间,且直播间GMV再次实现新突破,达7500万-1亿,这也直接帮助了三精制药进入月GMV超亿队列,品牌排名上涨57位,首次跻身抖音美妆月榜TOP20。
值得一提的是,三精制药并非与辉同行直播间唯一带货的美妆品牌,但却是近两月表现最好的美妆品牌,跻身与辉同行直播间月GMV总排名TOP3,超过了海蓝之谜、HBN等众多国内外知名美妆品牌。
·店播多账号布局,接稳流量
除与辉同行的强大带货力外,三精制药店播同样不容小觑。青眼情报数据显示,Sanchine三精制药护肤旗舰店于今年1月正式开店,直至今年5月才开始进行店铺直播,两个月后的7月该店铺实现了500万-750万的月直播GMV。
在与辉同行带货后,三精制药也很好地承接了这波热度,今年9月,上述店铺直播GMV提升至1000万-2500万。同时,除护肤旗舰店外,品牌还于9月陆续开设了护肤精选、个人护理旗舰店等账号直播间,开播首月就为品牌贡献100万-250万、250万-500万的GMV。

▍截自抖音
·性价比+低决策成本,刺激消费欲望
从商品维度来看,三精制药卖GMV最高单品并非传统药企广泛入局的护肤产品,而是“极光透亮养肤舒敏气垫霜组合”,该单品链接8月、9月GMV均在1000万-2500万之间。
在定价方面,三精制药走低价策略,99.9元就可获得8件产品,包括2个正装气垫、2个替换装、3个粉扑和1个洗面乳。这样的低定价策略,降低了决策门槛,精准踩上了对价格和性价比较为敏感的人群的需求,再通过丰富的赠品提升了产品的附加价值,从而刺激消费欲望。

▍截自抖音
同时,三精制药的气垫并未同其他气垫产品一样分肤质、分色号,商品链接中仅分为1盒装与组合装两个选项。品牌直播间中,则提到:“气垫不挑肤质不挑肤色,所以没有色号选择,都可以放心去拍。”

▍截自Sanchine三精制药护肤旗舰店
这种简化选择的方式,避免了消费者因色号选择困难而产生的决策犹豫,将购买决策过程大大简化。对于那些只是想快速尝试气垫产品、或者对美妆色号并不精通的消费者来说,这种无色号区分的设计无疑降低了他们的购买顾虑。
此外,这款气垫霜组合主打养肤与舒敏功效,契合了当下消费者对于美妆产品“妆效+护肤”的双重期待,又契合了药企对于用户安全、温和的潜在诉求。
在综合来看,与辉同行的专场“点燃”了三精制药在近两个月的爆发式增长,而三精制药自身店播的稳步推进与产品的定准定位,则像持续添柴的炉火,让品牌热度和GMV再上一个台阶。
药企入局美妆的新思路
三精制药在抖音美妆的“一鸣惊人”,并非偶然的流量巧合,而是对抖音不同路径不断尝试的成功。
从产品端来看,三精制药的美妆布局可追溯至2018年。据化妆品监管APP信息显示,彼时三精制药作为备案主体,陆续完成三精参皇水晶系列面膜、三精参皇护手霜、祛痘膏、洁面乳等多款美妆产品的备案,正式迈出“药企+美妆”的跨界第一步。不过,大多产品现已注销。

▍资料图 图源网络
渠道端,三精制药也早就开始布局抖音渠道,但前期线上表现并不突出。据青眼情报数据,2021年-2023年期间,三精制药的GMV始终维持在25万-75万元区间,增长相对平缓,尚未找到线上破局的关键路径。

·广备案,强化“药企+美妆”概念
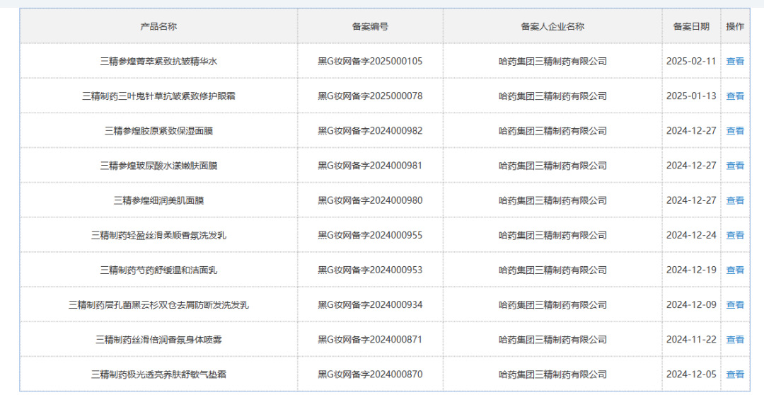
真正的转折点出现在2024年。这一年,三精制药加快了美妆产品的迭代与品类扩张节奏,不仅先后备案了洗发乳、气垫霜、精粹水、身体喷雾等新品,更将产品类目从早期的护肤、个护,拓展至彩妆、婴童护理、身体护理、男士护理等多个细分领域,形成更全面的产品矩阵,为后续承接大规模流量奠定了货盘基础。

▍截自国家普通化妆品备案信息网
更关键的是,2024年备案的产品进一步强化了药企特色。
譬如,三精制药将层孔菌、芍药、三叶鬼针草等中草药成分融入产品名称,甚至在部分产品中复用了其经典口服液中的葡糖酸锌、葡糖酸钙成分,形成“药企基因 + 美妆功效”的差异化标签。同时,产品功效宣称也更聚焦用户痛点,如紧致抗皱、去屑防断发、养肤舒敏等,精准匹配当下消费者的需求,为后续流量转化埋下伏笔。

▍截自Sanchine三精制药护肤旗舰店
·突出强调75年国民药企,拉近消费者距离
在品牌传播层面,三精制药充分利用自身75年的发展历史。在直播词条中明确提到“哈药三精制药75年品牌”,直播间、账号主页、视频内容也明确打出75年国民品牌、1950年药企老牌等字样。

▍截自Sanchine三精制药护肤旗舰店主页
在直播店铺直播中,主播会提及“用制药的标准做化妆品”等类比,将消费者对药品的品质认知迁移到美妆产品上;甚至在包装设计上,部分产品保留了与经典药品“蓝瓶口服液”相似的蓝白配色,进一步唤醒消费者的品牌记忆。

▍截自Sanchine三精制药护肤旗舰店
必须承认的是,75年的品牌积淀赋予了三精制药“可靠、专业、值得信赖”的品牌形象,尤其在药妆跨界场景中,消费者对“老牌药企”的技术背书更为敏感;另一方面,通过反复强调1950年成立、75年等时间维度信息,品牌将自身定位从“传统药企”升级为“伴随几代人成长的国民品牌”,激发了消费者的集体记忆与情感共鸣。
可以说,三精制药的蹿红,本质是历史记忆与当代需求的同频共振,更得益于其踩准了新消费市场的脉搏。
黑马能否长虹
众所周知,抖音美妆从不缺黑马品牌,但能否从昙花一现走向长虹,是每个爆红品牌必须面对的考验。
首先,三精制药的短期成功很大程度上依赖于顶流直播间的“流量引爆”。与辉同行的专场带货在短时间内带来了数千万GMV,但这种外部流量具有高成本、高波动性的特点。一旦头部主播的合作频率下降或平台流量政策调整,品牌可能面临GMV大幅滑落的风险。
尽管三精制药多账号店播策略虽初见成效,但尚未形成稳定的自播体系。抖音美妆的竞争已进入“内容+运营”的双轮驱动时代,品牌若不能打造出具有辨识度的直播内容、培养忠实粉丝群体,仅靠促销和赠品,多账号店播也难以持久承接流量实现长期增长。
诸如三精制药等抖音黑马品牌需要思考的是,如何将外部流量转化为品牌自身的私域资产,而非仅作为短期销量的“输血机”。
不过,青眼注意到三精制药并非仅仅“押宝”气垫霜,其层孔菌黑云杉双仓去屑防断发洗发乳在9月GMV同样突破千万,成为仅次于气垫霜的商品。同时、品牌特润霜、眼霜、芍药舒缓面膜等单品也实现750万-1000万的单月GMV。

▍截自Sanchine三精制药护肤旗舰店
此外,值得一提的是,其在今年还注册了防脱去屑洗发水、儿童防晒霜等特证产品,这都表明三精制药在美妆领域已初步形成多品类协同发展的格局,而非过度依赖单一爆款。这种产品矩阵的丰富性,不仅能分散单一品类波动带来的风险,也为后续通过细分品类触达不同消费群体提供了可能。

▍截自国产特色化妆品注册信息
事实上,近年来不少药企跨界进入化妆品领域,典型的代表包括广药白云山、仁和匠心、修正等。这些企业在抖音美妆平台上曾取得显著成绩,例如修正和仁和匠心分别在2021年和2022年迎来了其在美妆赛道的高光时刻,双双跻身抖音美妆TOP30,年GMV均超过1亿元。
然而,近年来,修正和仁和匠心的经营重心逐渐转向医疗健康、个护家清等领域,其美妆排名和GMV均出现下滑。截至发稿前,修正和仁和匠心在抖音美妆的排名已跌出百名之外,其中仁和匠心的月GMV尚能维持在2500万至5000万之间,而修正的美妆年GMV则处于2500万至5000万的区间。
市场从不相信眼泪,只认可实力。因此,才会有源源不断的黑马品牌在抖音美妆赛道上涌现,而要想不仅做一时的黑马,更成为长青的标杆,则需要品牌具备持续创新与深度运营的能力,久久为功。
24小时热榜
热门视频
